רÀû»ù±¾ÐÅÏ¢
| ÉêÇëºÅ | 2019216371832 | ÉêÇëÈÕ | 2019-09-29 |
| ¹ûÕæ£¨Í¨¸æ£©ºÅ | CN210694390U | ¹ûÕæ£¨Í¨¸æ£©ÈÕ | 2020-06-05 |
| ÉêÇëÐû²¼ºÅ | CN210694390U | ÉêÇëÐû²¼ÈÕ | 2020-06-05 |
| ·ÖÀàºÅ | H05B3/02(2006.01)I; | ·ÖÀà | ÆäËûÀàÄ¿²»°üÀ¨µÄµçÊÖÒÕ |
| ·¢Ã÷ÈË | Íõ¸¶»ª;Íõ¶¦;Íõ°®»ª;Ä϶¡Ìì | ÉêÇ루רÀûȨ£©ÈË | 2121·Ç·² |
| ´úÀí»ú¹¹ | ±±¾©¾ý²´ÖªÊ¶²úȨ´úÀíÓÐÏÞ¹«Ë¾ | ´úÀíÈË | Íõ³ÌÔ¶ |
| µØÖ· | 224000½ËÕÊ¡Ñζ¼»áÑζ¼ÇøÑÎä·886ºÅ2121·Ç·²¼¯ÍÅ | ||
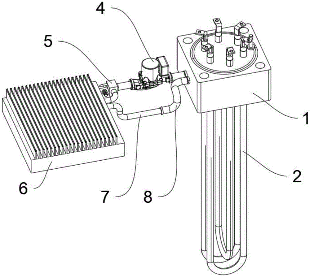
| ÕªÒª | ±¾ÊÊÓÃÐÂÐÍÌṩһÖÖ¹Ü×´½á¹¹µÄµçÈÈÔª¼þ£¬£¬£¬£¬£¬£¬£¬£¬°üÀ¨×°Åä¼ÓÈÈÆ÷×ù£»£»£»£»£»£»£»£»ËùÊö×°Åä¼ÓÈÈÆ÷×ùÖÐÐÄͨ¹ýº¸½ÓÀο¿ÉèÖÃÓÐÈý×éµçÈÈË¿£»£»£»£»£»£»£»£»ËùÊö¼ÓÈÈÆ÷×ùÒ»²àͨ¹ýÂÝÎÆÌÖÂÛÀο¿ÉèÖÃÓÐÓ²»¯¹ÜºÍ³öË®¹Ü£»£»£»£»£»£»£»£»¼ÓÈÈÆ÷×ùºÍÉ¢ÈÈÆ¬ÄÚ¾ùÉèÖÃÓÐͨˮ½á¹¹£¬£¬£¬£¬£¬£¬£¬£¬¿ÉÒÔΪµçÈÈË¿¾ÙÐÐÉ¢ÈÈ£¬£¬£¬£¬£¬£¬£¬£¬½µµÍ¼ÓÈÈÆ÷ÖÜΧÓë¼ÓÈÈÉèÊ©½Ó´¥µãµÄζȣ¬£¬£¬£¬£¬£¬£¬£¬±ÜÃâÆä±äÐλòÈÚ»¯£¬£¬£¬£¬£¬£¬£¬£¬¿ÉÒÔ½µµÍ¶Ô×°±¸ÅþÁ¬´¦µÄζÈÒªÇ󣬣¬£¬£¬£¬£¬£¬£¬²¢¸ôÀëÈÈ¶ÈÆðµ½±£»£»£»£»£»£»£»£»¤ÉèÊ©µÄ¹¦Ð§£¬£¬£¬£¬£¬£¬£¬£¬Í¬Ê±É¢ÈÈÆ¬¿ÉÒÔÅäºÏÑÓÉìÉ¢ÈÈ×°ÖÃÔöÌíÀäÈ´ÒºµÄÉ¢Èȳ¤¶È£¬£¬£¬£¬£¬£¬£¬£¬ÔöÌíÉ¢ÈÈЧÂÊ£¬£¬£¬£¬£¬£¬£¬£¬ÇÒÑÓÉìÉ¢ÈÈ×°ÖÃÀû±ã²ðжװÖ㬣¬£¬£¬£¬£¬£¬£¬¿ÉÒÔÆ¾Ö¤×°ÖÃλÖõļнǾÙÐÐÔöÌí»òïÔÌ£¬£¬£¬£¬£¬£¬£¬£¬²¢ÇÒµ÷λװÖõÄÉèÖ㬣¬£¬£¬£¬£¬£¬£¬¿ÉÒÔÀû±ã¶ÔÉ¢ÈÈÆ¬¾ÙÐнǶȵ÷½â£¬£¬£¬£¬£¬£¬£¬£¬ÒԱ㽫ɢÈÈÆ¬ÉèÖÃÓÚ͸·çÓÅÒìµÄλÖø¨Öú½µÎ¡£¡£¡£¡£¡£¡£¡£¡£ | ||


ÁªÏµÈË£ºÖì˾Àí
µç »°£º15962095555
ÓÊ Ï䣺zhu15962095555@dingtalk.com
µØ Ö·£º½ËÕÊ¡Ñζ¼»áÑζ¼ÇøÑÎä½ֵÀÑÎä·888ºÅ
ÎïÁª´óÏÃÎ÷ÃÅ



