2121非凡

通用banner
您目今的位置 : 首 页 > 新闻中心 > 公司新闻

联系2121非凡Contact Us

江苏2121非凡收支口股份有限公司

 联系人:朱司理

 电    话:15962095555

 邮    箱:zhu15962095555@dingtalk.com

 网    址:www.xt518.com

 地    址:江苏省盐都会盐都区盐渎街道盐渎路888号物联大厦西门

2121非凡·(中国集团)体育官方网站

2121非凡专利-CN111156692A_一种家用型电热水箱

2021-01-06
申请号CN201911398233.0申请日2019-12-30
果真(通告)号CN111156692A果真(通告)日2020-05-15
申请宣布号CN111156692A申请宣布日2020-05-15
分类号F24H1/20;F24H9/18;B01D29/01;B01D29/56分类供热 ;; ;;;炉灶 ;; ;;;透风
发明人王付华;南丁天;马开新;金洪根申请(专利权)人
2121非凡
代理机构
南京众联专利代理有限公司代理人
景鹏飞
地址224000 江苏省盐都会盐都区新区兴民居委会四组2幢(B)
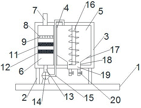
摘要本发明提供一种家用型电热水箱 ,,,,,,,包括底板 ,,,,,,,所述底板上通过支架对称设有热水箱 ,,,,,,,热水箱通过隔板将热水箱隔成蓄水腔和净化腔 ,,,,,,,净化腔顶部于热水箱上设有自来水接受 ,,,,,,,净化腔内部设有过水板 ,,,,,,,过水板上部设有出水孔 ,,,,,,,出水孔与均洒机构连通 ,,,,,,,过水板下方设有一过滤网 ,,,,,,,一过滤网下方设有二过滤网。。。。。。本发明通过弧形水罩的洒水孔将水喷洒出 ,,,,,,,喷洒出的水能够提高与一过滤网的接触效果 ,,,,,,,从而提高水的净化 ,,,,,,,然后再被二过滤网进一步的净化 ,,,,,,,从而进一步的提高了水质净化效果 ,,,,,,,再在蓄水腔内被电加热棒电加热后能够被正常饮用。。。。。。

13.png

标签

本文网址:/news/505.html

近期浏览:

联系人:朱司理

电   话:15962095555

邮   箱:zhu15962095555@dingtalk.com

地   址:江苏省盐都会盐都区盐渎街道盐渎路888号

             物联大厦西门

加热器厂家

加热器厂家

管道加热器

管道加热器


缩短
  • QQ客服 2336502083

分享到

网站地图