| 申请号 | CN201921686296.1 | 申请日 | 2019-10-10 |
| 果真(通告)号 | CN210536962U | 果真(通告)日 | 2020-05-15 |
| 申请宣布号 | CN210536962U | 申请宣布日 | 2020-05-15 |
| 分类号 | H05B3/06;H05B3/42 | 分类 | 其他类目不包括的电手艺 |
| 发明人 | 王付华;王鼎;王爱华;南丁天 | 申请(专利权)人 | 2121非凡 |
| 代理机构 | 北京君泊知识产权代理有限公司 | 代理人 | 王程远 |
| 地址 | 224000 江苏省盐都会盐都区盐渎路886号2121非凡集团 | ||
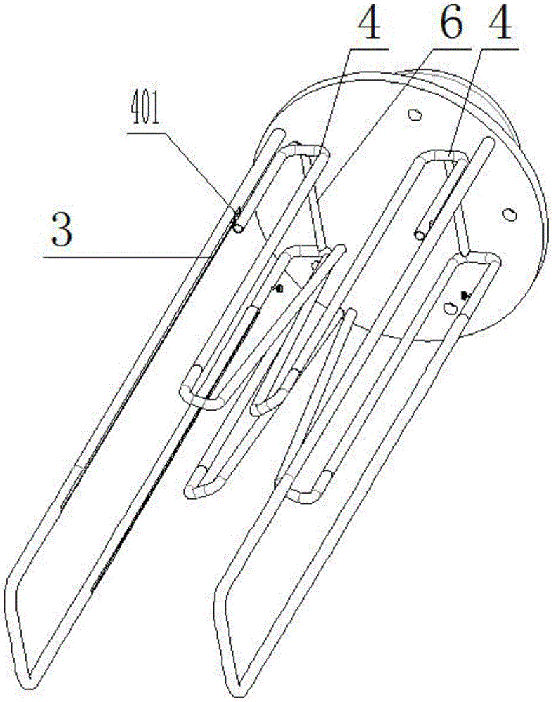
| 摘要 | 本适用新型提供一种法兰式电加热管结构,,,,,,包括热管座;;;;;;;所述热管座为层为外壳塑料,,,,,,而内部嵌入金属材质板的顶部装置座,,,,,,其顶部装置有金属讨论;;;;;;;所述热管座的嵌入金属板底部装置有两组母热管,,,,,,且在这两组母热管上均还滑动套装有通过毗连受毗连的两段子热管,,,,,,这两套子热管通过导板与导柱组滑动配合于U形加热管上使原来的这两处U形加热管实现长度加长,,,,,,并且通过导柱与导板滑动配合,,,,,,以及通过螺纹管与螺栓组合的方法,,,,,,使加长后的加热管段可实现位置锁定,,,,,,因此这一结构的加热管在现实使用时,,,,,,可以凭证其所插入水深情形的深度举行长度调理,,,,,,以抵达对深水更快加热速率的目的。。。。。 | ||


联系人:朱司理
电 话:15962095555
邮 箱:zhu15962095555@dingtalk.com
地 址:江苏省盐都会盐都区盐渎街道盐渎路888号
物联大厦西门



